Case Notes
History
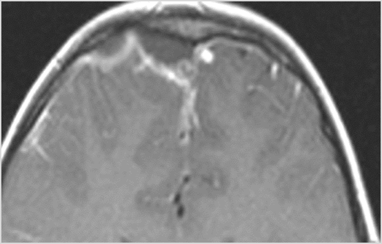
45-year-old immune compromised patient in the bone marrow transplant unit with neutropenic fever and frontal headaches with likely sinusitis possibly with possible orbital, intracranial or other complications such as cavernous sinus thrombosis.Exam
Prior Study
NoneDicom
Findings
| Nasal Cavity and Nasolacrimal Drainage System | Correct Answer | Your Answer |
|---|---|---|
|
There is mucoperiosteal thickening in the nasal cavity. |
Yes | NA |
|
There is mucosal thickening of the posterior lateral walls of the nasal cavity, cribriform plate or the face of the sphenoid bone. |
No | NA |
|
There is ulceration or erosion of the nasal septum or turbinates. |
Yes | NA |
|
There is infiltration of the fat surrounding the nasolacrimal sac. |
No | NA |
|
There is infiltration of soft tissues or bone erosion along the nasolacrimal fossa or canal. |
No | NA |
| Sinuses | Correct Answer | Your Answer |
|---|---|---|
|
There is soft tissue swelling anterior to the frontal sinus or in the soft tissues surrounding the maxillary sinuses. |
No | NA |
|
There is mucoperiosteal thickening in the sinuses. |
Yes | NA |
|
There is mucosal enhancement in the sinuses. |
No | NA |
|
There is an air fluid level in the frontal sinus. |
Yes | NA |
|
There is bone erosion along the walls of any affected sinuses. |
No | NA |
|
There is an appearance of bone expansion, due to regressive remodeling and suggestive of pre-existing mucocele, along the walls of any affected sinuses. |
No | NA |
| Orbits | Correct Answer | Your Answer |
|---|---|---|
|
The extraconal orbital fat is abnormal. |
No | NA |
|
There is a subperiosteal abscess or edema along the medial wall, roof or floor of the orbit. |
No | NA |
|
The extraocular muscles are swollen or otherwise abnormal. |
No | NA |
|
There is bone erosion along the walls of the orbit. |
No | NA |
|
|
No | NA |
|
The orbital apex and the superior and inferior orbital fissures are infiltrated. |
No | NA |
|
The superior and/or inferior ophthalmic veins are dilated or thrombosed. |
No | NA |
| Eyes | Correct Answer | Your Answer |
|---|---|---|
|
Proptosis is present. |
No | NA |
|
The optic nerve is stretched in appearance. |
No | NA |
|
The posterior aspect of the globe is tented in appearance. |
No | NA |
|
The uveal scleral margin of the globe is swollen or enhancing abnormally. |
No | NA |
|
Signs of tension orbit or endophthalmitis are present. |
No | NA |
| Nasopharynx | Correct Answer | Your Answer |
|---|---|---|
|
There is a deeply infiltrating or necrotic/ulcerative process of the nasopharynx. |
No | NA |
| Intracranial | Correct Answer | Your Answer |
|---|---|---|
|
There is a subperiosteal fluid collection or abscess along the boney walls of the anterior or middle cranial fossa. |
No | NA |
|
There is an epidural fluid collection or abscess along the boney walls of the anterior or middle cranial fossa. |
No | NA |
|
There is a subdural fluid collection or abscess along the boney walls of the anterior or middle cranial fossa. |
No | NA |
|
There is a subdural fluid collection or abscess along the falx cerebri or within the tentorium. |
No | NA |
|
There is evidence of thrombus, thrombophlebitis or other occlusive or inflammatory process of the cortical veins, sphenoparietal sinus or sagittal sinus. |
No | NA |
|
There is evidence of thrombus, thrombophlebitis or other occlusive or inflammatory process of the cavernous sinus. |
No | NA |
|
There is evidence of inflammation of the distal internal carotid artery. |
No | NA |
|
There is evidence of an infectious aneurysm. |
No | NA |
|
There is brain edema specifically involving the frontal and temporal lobes. |
No | NA |
|
There is cerebritis specifically involving the frontal and temporal lobes. |
No | NA |
|
There is brain abscess specifically involving the frontal and temporal lobes. |
No | NA |
|
There is likely meningitis, meningoencephalitis with complicating hydrocephalus or brain herniation. |
No | NA |
| Developmental variants | Correct Answer | Your Answer |
|---|---|---|
|
The anterior ethmoid arteries are on a mesentery. |
No | NA |
|
The medial walls of the orbit position are abnormal due to their position or a significant dehiscence. |
No | NA |
|
The overall cephalocaudal dimensions of the ethmoid complex are unusual small. |
No | NA |
|
The olfactory fossa has an abnormal depth relative to the roof of the ethmoid complex and the cribriform plate has a significant dehiscence. |
No | NA |
|
The carotid artery and optic nerves adjacent to the sphenoid sinus are in an abnormal position and/or the overlying bone shows significant dehiscence. |
Yes | NA |
Impression
Expert Answer
Findings are consistent with the clinical diagnosis of uncomplicated acute or subacute sinusitis with probable acute frontal sinus air/fluid level.
Your Answer
Recommendations & Acuity
Recommendations
Expert Answer
No recommendations except to raise the awareness to monitor for clinical indications of worsening possible acute frontal sinusitis
Your Answer
Acuity
Expert Answer
Urgent (Action Necessary in a few hours)